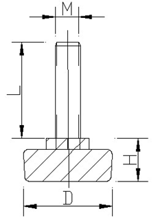
| 序 号 | 规格型号 | 底座直径 | 底座总高 | 底座高度 | 六角对边直径 | 螺纹直径 | 螺杆长度 |
| D | H | h | Hex | M | L | ||
| 1 | PF-M620-28 | 28 | 12 | M5 | 20 | ||
| 2 | PF-M830-28 | M6 | 30 |

【 微信扫码咨询 】
15867256105
15888165389
"●材质:底座橡胶,螺杆碳钢(Q235)
螺杆可选不锈钢304或202"
●表面处理:镀锌(可选镀镍/铬/彩锌/黑锌,等)
●特点:螺杆和底座利用螺母锁紧,不可转动
●尺寸:详细尺寸见表格(螺杆长短可根据要求订制)